سجلت شركة سامسونغ (أحد أكبر مصنعي الأجهزة الإلكترونية في العالم) براءة اختراع تقنية شحن لاسلكي عبر الهواء.
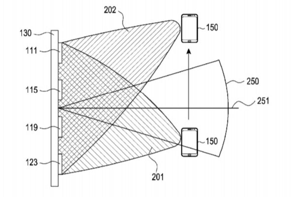
وتعمل التقنية الجديدة عن طريق تركيز الطاقة على جهاز محدد في الغرفة وتعمل على تجاوز العقبات عبر عاكسات للوصول إلى جميع أنحاء الغرفة مما يعني استمرار الشحن حتى لو كان هناك عازل بين الجهاز والشاحن الجديد.
يذكر أن تقنية الشحن اللاسلكي المتوفرة حالياً تعمد على وضع الجهاز مباشرة فوق الشاحن اللاسلكي، ما يمنع استخدام الجهاز في وضعية الشحن، الأمر الذي حلته التقنية الجديدة من سامسونغ.
«سامسونغ» تسجل براءة اختراع «شاحن» عبر الهواء
24 مارس 2018 - 20:09
|
آخر تحديث 24 مارس 2018 - 20:09
تابع قناة عكاظ على الواتساب
«عكاظ» (النشر الإلكتروني)